INFORMACIÓN
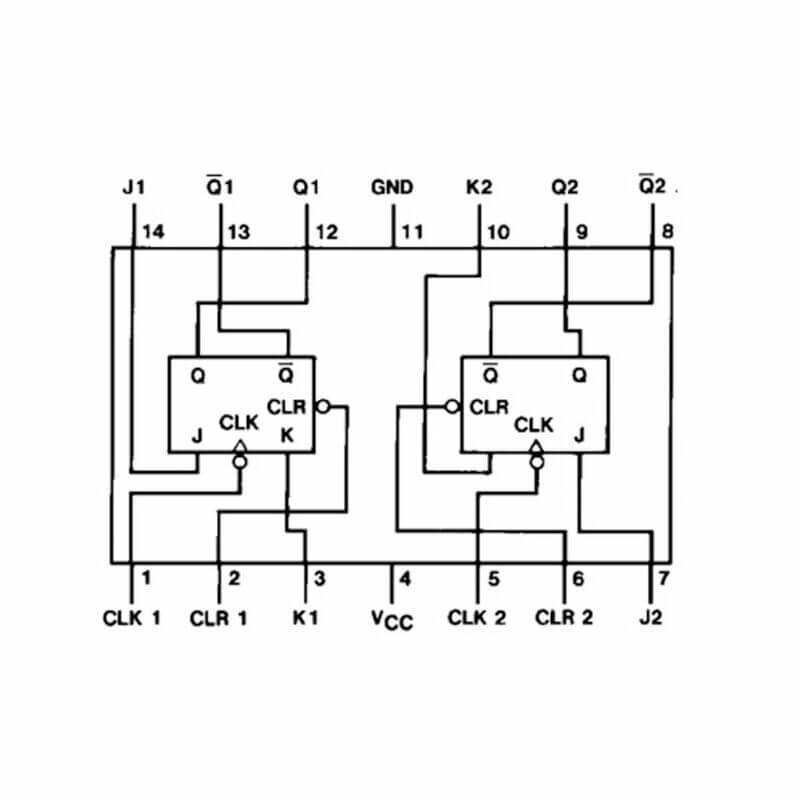
El 74LS73 Flip Flop JK es un tipo de circuito integrado que se utiliza para almacenar y cambiar el estado de una señal digital con tecnología LS y dos flip-flops J-K independientes; tiene una configuración de pines DIP de 14 pines, y utiliza tecnología TTL (Transistor-Transistor Logic) para una operación rápida y confiable. La alimentación de voltaje típica del 74LS73 es de 5 V.
El 74LS73 Flip Flop JK es muy utilizado en la implementación de circuitos secuenciales, como contadores, registradores, y en la construcción de lógica combinacional y secuencial más compleja. Es un componente electrónico muy versátil y útil en la electrónica digital, debido a su capacidad de almacenamiento y cambio de estados de señales digitales.
ESPECIFICACIONES Y CARACTERÍSTICAS
- Familia: LS
- Encapsulado: DIP
- No. De Pines: 14
- Tipo de Flip Flop: JK
- Trigger: Edge Negativo
- Salida: Diferencial / Complementaria
- Retardo de propagación: 15ns
- Frecuencia: 30 MHz
- Voltaje de alimentación: 4.75 V a 5.25 V, típica 5V
- Corriente de salida: 8 mA
- Temperatura de trabajo: 0 °C a 70°C
DOCUMENTACIÓN Y RECURSOS
INFORMACIÓN ADICIONAL
Funcionamiento del 74LS73 Flip Flop JK
Es un tipo de flip flop de tipo JK, que puede funcionar en modo de retención (hold), set o reset. Está compuesto por dos flip flops JK de dos entradas cada uno, y cada flip flop tiene dos salidas: una directa (Q) y otra complementaria (Q’).
El funcionamiento del 74LS73 se basa en la entrada de señales de reloj (CLK), J, K, y la entrada de datos en D. La señal de reloj se utiliza para sincronizar la entrada de datos en el flip flop. Las entradas J y K se utilizan para controlar el estado del flip flop, donde una señal en J cambia el estado a 1, mientras que una señal en K cambia el estado a 0. Cuando J y K se mantienen en 1, el flip flop se comporta como un inversor. La entrada de datos en D se utiliza para establecer el estado inicial del flip flop.
Recomendaciones de al usar el 74LS73 Flip Flop JK
El Flip Flop JK 74LS73 es un circuito integrado versátil que se utiliza para almacenar y cambiar el estado de una señal digital. Aquí los pasos para utilizar el 74LS73:
- Conecta los pines de alimentación: El pin 14 (Vcc) se conecta a la fuente de alimentación de 5V, y el pin 7 (GND) se conecta a la tierra.
- Conecta las entradas: Conecta la señal de reloj (CLK) al pin 3. Las entradas J y K se conectan a las entradas que deseas usar para controlar el estado del flip flop. Si deseas mantener el estado actual del flip flop, conecta ambas entradas J y K a la alimentación de 5V (puede ser también mediante un interruptor que activa/desactiva la entrada). La entrada de datos en D se utiliza para establecer el estado inicial del flip flop, se puede conectar a una entrada de datos o al estado de la salida de otro flip flop.
- Conecta las salidas: Las salidas Q y Q’ son las salidas directa y complementaria, respectivamente. La salida Q se encuentra en el pin 5, mientras que la salida complementaria Q’ se encuentra en el pin 4. Estas salidas se pueden utilizar para controlar otros componentes electrónicos en un circuito, como otros flip flops, LED, relés, entre otros.
- Aplica la señal de reloj: Cuando se aplica la señal de reloj (CLK), el estado del flip flop se sincroniza con la entrada de datos en D. Si las entradas J y K están activadas, el estado del flip flop se cambiará según la tabla de verdad de la compuerta JK. Si las entradas J y K están desactivadas, el flip flop se mantendrá en su estado actual.
- Prueba y depura el circuito: Verifica la operación del circuito en función de las entradas y salidas. Si hay algún problema en el funcionamiento, verifica la conexión de los pines y la fuente de alimentación, así como la señal de reloj y las entradas J y K.

XIAO ESP32-S3 Wi-Fi y BLE














Valoraciones
No hay valoraciones aún.